Odpowiedzi (1)
- Sortuj według
- Ostatnio dodane
- Najwyżej ocenione
- Sortuj od najstarszych
Czytaj także:
Jak działa przeciwpożarowy wyłącznik prądu?
Jak działa przeciwpożarowy wyłącznik prądu?
Przeciwpożarowy wyłącznik prądu
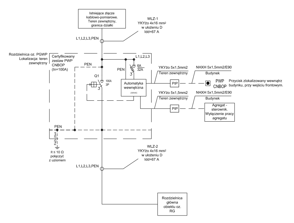
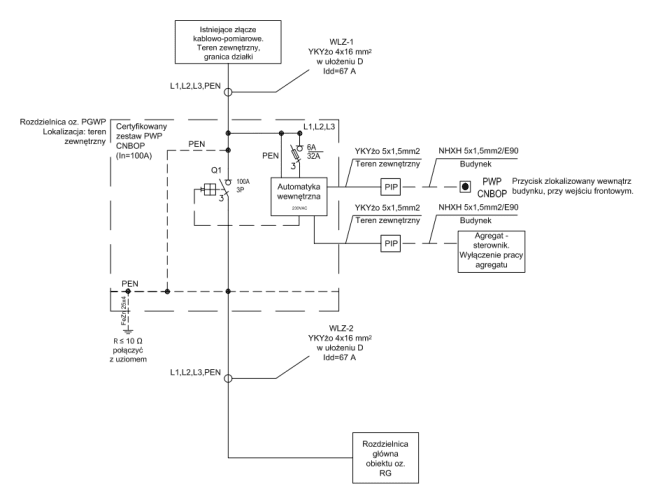
Witam,Potrzebuję do realizacji projektu Przeciwpożarowy wyłącznik p
Wyłącznik przeciwpożarowy
Dzień dobry,potrzebuję Wyłącznik przeciwpożarowy ppz 6stringow , mo
Nowoczesne zestawy uruchamiająco-sygnalizujące SPAMEL: In
Zestawy SPAMEL to nowoczesne rozwiązania dla systemów bezpieczeństw
Przeciwpożarowy wyłącznik prądu CX2004. Zadbaj o bezpiecz
CX2004 to kompaktowy przeciwpożarowy wyłącznik prądu, zapewniający
Zestaw wykonawczy PWP1-UWS100. Przeciwpożarowy wyłącznik
Profesjonalny zestaw wykonawczy SPAMEL PWP1-UWS100 to niezbędny ele

Da się zrobić bez inwestowania milionów złotówek w gotowe rozwiązania, wystarczą dwa przekaźniki z odpadającym stykiem, dwie czasówki i przekaźnik 1p, kilka lampek kontroli napięcia i zabezpieczenia i na tych urządzeniach możemy wszystko wykonać, by SZR spełnił oczekiwania nawet E. Muska :). Oczywiście jeszcze tor prądowy. Szukamy czasem rozwiązań z kosmosu, a jak się okazuje można wiele aplikacji wykonać na podstawowych podzespołach typowo elektryczno-mechanicznych, bez zbędnej elektroniki, UPS etc.